百数百数帮助
  • 首页
  • 帮助文档
  • 后端python
  • 开放平台
  • 私有云
  • 场景案例
  • 更新日志
返回控制台
返回控制台
  • 产品简介
  • 套餐、配置、私有云
    • 收费模式
    • 私有云
    • 公有云平台性能解释
    • 私有云配置性能介绍
    • 充值与套餐的购买、升级、续费
  • 第三方集成
    • 钉钉集成
      • 钉钉集成管理
      • 钉钉通讯录的同步与修改
      • 消息推送-钉钉
      • 在钉钉终端使用
      • 解除钉钉应用授权
    • 企业微信集成
      • 企业微信集成管理
      • 通讯录的同步
      • 企业微信激活
      • 企业微信接口调用许可说明
      • 企业微信账号购买
      • 企微三方单应用模式
    • 飞书集成
      • 飞书集成管理
      • 飞书通讯录同步及修改
      • 消息推送-飞书
      • 在飞书终端使用
      • 解除飞书应用授权
    • 微信服务号集成
      • 微信服务号集成流程
      • 配置说明
      • 消息通知
      • 解绑&关闭
      • 微信消息模板变更说明
  • 快速入门
    • 账号注册和登录
    • 快速使用
      • 应用安装及基本设置
      • 权限分配和应用分享
        • 成员邀请和通讯录管理
        • 共享和权限分配
        • 系统管理员和普通管理员
      • 数据管理
        • 数据操作
    • 快速开发
      • 制作一个表单
      • 对内分享和对外分享
      • 数据管理
      • 制作报表
    • 移动端帮助手册
      • 移动端使用
      • 个人中心
      • 工作台
      • 应用访问
      • 流程管理
      • 微信小程序上访问
      • 移动端一期改版说明
      • 移动端二期改版说明
      • 移动端三期流程中心改版说明
    • 电脑端表单改版说明
    • 移动端表单改版说明
  • 工作台
    • 自定义工作台
    • 待办任务
    • 应用管理
      • 流程待办
      • 应用设置
      • 创建新应用
      • 快捷操作
      • 应用分享
      • 导出安装包
      • 应用内表单管理
    • 账户中心
      • 个人设置
      • 安全中心
    • 企业管理
      • 企业设置
      • 会员购买
      • 版本信息
      • 财务
      • 安全策略
      • 登录日志
      • 企业日志
      • 使用统计
      • 自定义登录页
    • 消息中心
      • 消息类型
      • 通知设置
      • 消息接收人管理
    • 导出管理
    • 退出账号
  • 团队和通讯录
    • 普通模式
      • 成员管理
        • 成员邀请
        • 已删除成员管理
        • 成员停用与启用
      • 部门管理
      • 管理员
      • 角色
      • 交接工作
      • 职位替代部门主管
      • 职位说明
      • 成员关系说明
    • 企业微信模式
      • 企业微信通讯录的同步
    • 钉钉模式
      • 钉钉通讯录同步与修改
    • 飞书模式
      • 飞书通讯录同步与修改
    • 外部联系人
      • 外部联系人管理
      • 外部联系人使用
      • 分组管理
      • 小程序设置
      • 第三方团队外部联系人
    • 互联组织
      • 外部企业
        • 公开链接邀请互联企业
        • 批量导入邀请互联企业
        • 互联企业导入失败问题汇总
        • 代管企业
      • 其他设置
        • 我方对接人
        • 我方对接部门
        • 邀请我协作的企业
      • 外部对接人&外部角色
      • 互联组织使用
        • 工作台添加外部应用
        • 互联组织权限
        • 互联组织表单使用
        • 互联组织报表使用
        • 互联组织流程协作
        • 互联组织打印模板使用
        • 互联组织消息提醒
    • 通讯录同步到表单
  • 表单设计
    • 表单类型与创建
      • 创建空白表单
      • 从Excel创建表单
      • 表单类型介绍
    • 表单控件
      • 控件基础说明
      • 描述信息详解
      • 基础控件
        • 单行文本
        • 多行文本
        • 数字
        • 日期时间
        • 单选按钮组
        • 复选框组
        • 下拉框
        • 下拉复选框
        • 扩展按钮
          • 扩展按钮-后端事件
          • 扩展按钮-功能插件
          • 扩展按钮-数据助手
          • 扩展按钮-弹出报表
          • 扩展按钮-弹出表单
          • 扩展按钮-页面打印
          • 扩展按钮-弹出外部网页
          • 扩展按钮-前端事件
        • 分割线
      • 增强控件
        • 地址
        • 定位
        • 图片
        • 附件
        • 子表单
          • 子表单字段属性
          • 子表单补充说明
          • 子表单数据加载
          • 子字段显隐规则
          • 子表单操作权限
        • 关联查询
        • 关联数据
        • 数据加载
        • 流水号
        • 手写签名
      • 部门成员控件
        • 成员控件
        • 部门控件
      • 控件回收站
    • 表单外链
      • 表单外链
      • 数据外链
      • 公开查询
      • 外链限制
    • 表单内链
      • 表单访问内链
      • 数据详情内链
    • 表单属性
      • 表单属性介绍
      • 表单提交校验
      • 表单提交确认设置
      • 功能扩展设置
      • 表单数据缓存
      • 多标签显示
      • 隐藏控件赋值
      • 表单外链样式
      • 字段显隐规则
      • 提交操作设置
      • 表单布局
    • 表单权限
      • 表单 报表权限设置
      • 普通表单数据权限管理
      • 流程表单数据权限管理
    • 扩展体系支持并行触发
    • 引用关系
  • 表单设置
    • 提交扩展
    • 打印功能
      • 打印模板基本功能
      • 模板设计-在线模式
      • 模板设计-word模式
      • 模板使用范围
      • 案例1:在线模式-自定义模板
      • 案例2:在线模式实现套打
      • 案例3:word模式实现套打
    • 推送提醒
      • 提醒设置
        • 新数据提交时提醒
        • 数据修改后提醒
        • 自定义时间提醒
        • 根据表单中的日期字段提醒
        • 数据被评论@时提醒
        • 提醒方式
          • 微信提醒
          • 短信提醒
          • 邮件提醒
          • 语音提醒
      • 消息模板
        • 钉钉消息模板
        • 短信消息模板
        • 飞书消息模板
        • 企业微信消息模板
        • 微信消息模板
        • 邮件消息模板
        • 语音消息模板
        • 消息推送入口
        • 关于微信公众号消息模板调整通知
    • 计划任务
    • 字段索引
    • 微信增强
  • 公式设计
    • 公式规则
    • 表单VS助手视图公式对照表
    • 逻辑函数
      • IF 条件判断
      • TRUE、FALSE 布尔型
      • AND 与运算
      • OR 或运算
      • NOT 非运算
      • XOR 异或运算
      • IFS 多条件判断
      • ISNULL 返回值无效判断
    • 文本函数
      • CONCATENATE 文本合并
      • CONCAT 文本合并
      • EXACT 文本比较
      • LEN 取长度
      • LOWER 大写转小写
      • UPPER 小写转大写
      • SEARCH 查找
      • SPLIT 分割
      • TRIM 删除字符串首尾空格
      • TEXT 转换文本
      • VALUE 文本转数字
      • ISEMPTY 判断是否为空
      • GETUSERNAME 获取用户昵称
      • MD5 加密
      • CHAR 换行
      • ADDRESS2TEXT 地址转文本
      • TEXT2ADDRESS 文本转地址
      • LOCATION2ADDRESS 经纬度转地址
      • STR_MID 取中间
      • STR_LEFT 取左
      • STR_RIGHT 取右
      • STR_REPLACE 文本替换
      • STR_REPT 重复
      • REPLACE_EX 新旧文本替换
      • STR_VALUE 文本转数字
      • STR_SPLIT 文本分割
      • URLDECODE 解码
      • URLENCODE 编码
      • RMBCAP 金额转换
      • JOIN 将数组值连接成文本
      • UNION 剔除重复数据
    • 数学函数
      • AVERAGE 平均数
      • COUNT 计数
      • COUNTIF 统计满足条件的参数个数
      • LARGE 从大到小排序取值
      • SMALL 从小到大排序取值
      • MAX 取最大值
      • MIN 取最小值
      • ABS 取绝对值
      • CEILING 向上舍入
      • FLOOR 向下舍入
      • INT 求整
      • LOG 对数
      • MOD 取余数
      • PRODUCT 乘积
      • POWER 乘幂
      • SUM 求和
      • SUMPRODUCT 乘积和
      • RAND 随机数
      • ISNAN 判断计算空值
      • MATH_ROUND 四舍五入
      • MATH_SQRT 平方根
      • COS 计算余弦值
      • COT 计算余切值
      • RADIANS 将角度转化为弧度
      • SIN 计算正弦值
      • SUMIF 满足某一条件的数字之和
      • SUMIFS 满足多个条件的数字之和
      • SUMPRODUCT 计算数组间对应元素的乘积之和
      • TAN 计算正切值
      • MATH_SUMPRODUCT 计算数组间对应元素的乘积之和
    • 日期函数
      • DATE 时间戳转日期
      • TIMESTAMP 日期转时间戳
      • TIME 时间十进制
      • TODAY 今天
      • NOW 当前时间
      • SYSTIME 服务器时间
      • DAY 日
      • MONTH 月
      • YEAR 年
      • HOUR 小时
      • MINUTE 分钟
      • SECOND 秒数
      • DAYS 计算日期间隔天数
      • DAYS360 计算日期间隔天数
      • DATEDELTA 加减指定天数
      • EDATE 加减指定月数
      • WEEKNUM 周数
      • ISOWEEKNUM ISO周数
      • DATEDIFF 计算时间差值
      • DATEFORMAT 指定日期格式
      • NETWORKDAYS 计算两个日期之间完整的工作日数值
      • WEEKDAY 计算日期的星期数
      • WORKDAY 计算指定天数后的日期
    • 高级函数
      • MAPX 聚合操作
      • UUID 随机码生成器
      • RECNO 累积器
      • IP 获取用户IP地址
      • DISTANCE 计算距离
      • GETUSERNAME 获取当前用户的昵称
      • INDEX 获取数组中指定位置的值
      • FX_INDEX 获取数组中指定位置的值
    • 子表单函数
      • SUBFORMLESS 小于
      • SUBFORMGREATER 大于
      • SUBFORMEQUAL 等于
      • SUBFORMLESSOREQUAL 小于等于
      • SUBFORMGREATEROREQUAL 大于等于
      • SUBFORMNOTEQUAL 不等于
    • 历史函数
      • LEFT 取左
      • RIGHT 取右
      • MID 取中间
      • REPT 重复
      • REPLACE 文本替换
      • ROUND、FIXED 四舍五入
      • SQRT 平方根
  • 数据关联与联动
    • 规则介绍
    • 数据关联VS数据联动VS数据加载VS功能插件
    • 数据关联
    • 数据联动
    • 数据加载
    • 子表单数据加载
    • 数据联动支持多条件
    • 多级联动
    • 子表单联动
  • 数据管理与协作
    • 数据管理VS报表-数据表VS查看表单所有数据
    • 数据导入导出
    • 特殊控件导入
    • 数据管理
    • 数据动态与评论
    • 数据分享
    • 批量修改
    • 批量打印
    • 批量导出附件
    • 批量打印二维码
    • 批量调整流程负责人
    • 批量结束流程
    • 批量激活流程
    • 数据协作介绍
    • 数据协作使用方法
    • Excel导入导出图片
    • 数据权限
      • 普通表单数据权限
      • 流程表单数据权限
      • 表单数据权限举例
      • 成员部门过滤方式
      • 全部有数据权限的数据
    • 数据标题
    • 表格快捷编辑
    • 数据管理搜索数据
    • 数据回收站
    • 数据复制
  • 流程设计
    • 流程介绍
    • 流程节点设计
      • 建立节点间流程关系
      • 数据流转条件和流转规则
      • 节点连线与过滤条件
      • 流程结束节点
    • 节点属性设置
      • 流程负责人
        • 逐级审批
      • 抄送
      • 操作权限
      • 审批意见
      • 节点权限
        • 流程回退
        • 流程加签
      • 节点校验条件
      • 负责人为空处理规则
      • 流程节点限时处理
        • 限时处理
        • 自动提醒
        • 自动提交
        • 自动回退
      • 提交不触发提醒
    • 流程属性设置
      • 流程提醒
      • 流程撤回
      • 流程催办
      • 流程状态和日志
      • 评论
      • 流程决策
      • 流程自动提交规则
      • 流程简报是否使用最新数据呈现
    • 子流程
      • 案例-出差与报销
    • 流程使用
      • 工作台流程管理
      • 应用内流程管理
      • 搜索&筛选条件
      • 批量提交与数据刷新
    • 流程监管
      • 管理员监控流程
    • 流程时效统计
  • 报表设计
    • 基础报表
      • 数据表
      • 数据菜单冻结
      • 文本控件
      • 日历
      • 透视图
      • 指标
      • 甘特图
      • 图片控件
      • 图片组件
      • 实时时间
      • 嵌入页面
      • 布局容器
    • 分析图表
      • 分析图表操作介绍
      • 柱形图
      • 折线图
      • 条形图
      • 饼图
      • 面积图
      • 雷达图
      • 双轴图
      • 地图
      • 漏斗图
      • 仪表盘
    • 场景报表
      • 地图场景报表
      • 卡片场景报表
      • 外部网页场景报表
    • 报表权限
      • 基础报表报表权限
      • 分析图表报表权限
      • 场景报表报表权限
      • 报表外链
      • 报表访问内链
      • 报表共享
    • 显示字段
    • 维度
    • 指标
    • 同比环比
    • 数据格式
    • 报表样式
    • 辅助线
    • 图表联动
    • 图表自定义联动
    • 筛选条件和筛选按钮
    • 过滤条件
    • 过滤条件和筛选条件
    • 快捷筛选
    • 图片预览
    • 移动布局
    • 报表菜单
      • 数据表菜单栏
      • 报表菜单栏
      • 菜单栏权限专题
      • 报表菜单实例欣赏
    • 报表排序
      • 数据表排序
      • 指标图排序
      • 透视图排序
      • 图形表排序
    • 报表定时提醒
    • 报表刷新
    • 筛选模式设置
    • 查看原始数据
    • 引用关系
  • 聚合表
    • 聚合表介绍
    • 聚合表设计
    • 聚合表多表关联
    • 聚合表其他设置
    • 聚合表案例赏析
    • 聚合表与数据视图
  • 数据视图
    • 视图介绍
    • 视图设计
    • 刷新规则
    • 数据输入
    • 数据处理
      • 横向连接
      • 追加合并
      • 数据筛选
      • 分组汇总
      • 字段设置
        • 排名
        • 累加汇总(求累计值)
      • 字段排序
      • 行转列
      • 节点设置
      • 输出表
    • 案例赏析
    • 数据视图与聚合表
  • 数据助手
    • 数据助手介绍
    • 数据助手使用
      • 助手配置入口
        • 控件触发
        • 初始化触发
        • 数据操作触发
        • 流程操作触发
        • 报表菜单触发
        • 数据导入触发
        • 计划任务触发
      • 助手使用设计
        • 输入数据
          • 输入数据
          • 数据源
          • 子表单当前行
        • 数据处理
          • 横向连接
          • 追加合并
          • 数据筛选
          • 分组汇总
          • 字段设置
            • 排名
            • 累加汇总(求累计值)
          • 字段排序
          • 行转列
          • 输出表
        • 执行动作
          • 新增数据
          • 修改数据
          • 删除数据
          • 数据联动
          • 子表单联动
          • 消息推送
          • 功能插件
          • 其他设置
        • 通用设置
          • 通用设置
          • 前置后置
          • 数据助手日志
    • 数据助手案例
      • 数据助手子表单
        • 子表单单行联动
        • 子表单批量联动
        • 子表单内联动多表
        • 普通字段添加到子表单
        • 筛选子表单数据到普通字段
        • 子表单数据同步
        • 子表单聚合计算
      • 数据助手计划任务
        • 计划任务发起流程
        • 计划任务删除数据
      • 数据助手智能助手
        • 数据去重
        • 数据合并
        • 加载上次提交值
        • 多字段匹配
        • 数据助手关联数据
        • 联动数据到当前表
  • 功能插件
    • 功能插件介绍
    • 功能插件使用
      • 控件功能插件使用示例
      • 表单功能插件使用示例
      • 流程功能插件使用示例
      • 计划任务功能插件使用示例
      • 触发方式
      • 表单操作类型
    • 数据助手VS功能插件
    • 阻塞与非阻塞
  • 前端事件
    • 前端事件介绍
    • 前端事件配置
    • JsonPath规则详解
    • 子表单字段写入数组
    • 场景应用
      • 阿里云接口-物流查询
      • 阿里云接口-天气查询
      • 开放平台接口-查询成员列表
  • 应用设置
    • 页面共享
    • 跨应用
    • 自定义菜单
    • 应用日志
    • 应用管理
  • 标准应用
    • 应用搭建
    • 项目管理
    • 客户端使用
  • 历史功能
    • Web API
      • API打印
      • POST接口
      • 表单&数据API
      • 通讯录API
  • 其他
    • 数据管理更新日志
    • 关于钉钉飞书去除IP说明
    • 功能模块正式更名为功能插件的通知
    • 关于PDF文件预览兼容性问题的说明

过滤条件

  • 简介
  • 添加过滤条件
    • 示例
  • 过滤条件筛选模式
  • 过滤条件支持的字段

简介

支持自定义过滤条件,添加过滤条件后图表中只显示符合条件的数据。
过滤条件的字段与值由管理员设置,成员不可修改。

添加过滤条件

  • 若设置了过滤条件,则报表中只出现满足条件的数据。

  • 若没有设置过滤条件,则报表中展示所有数据。

示例

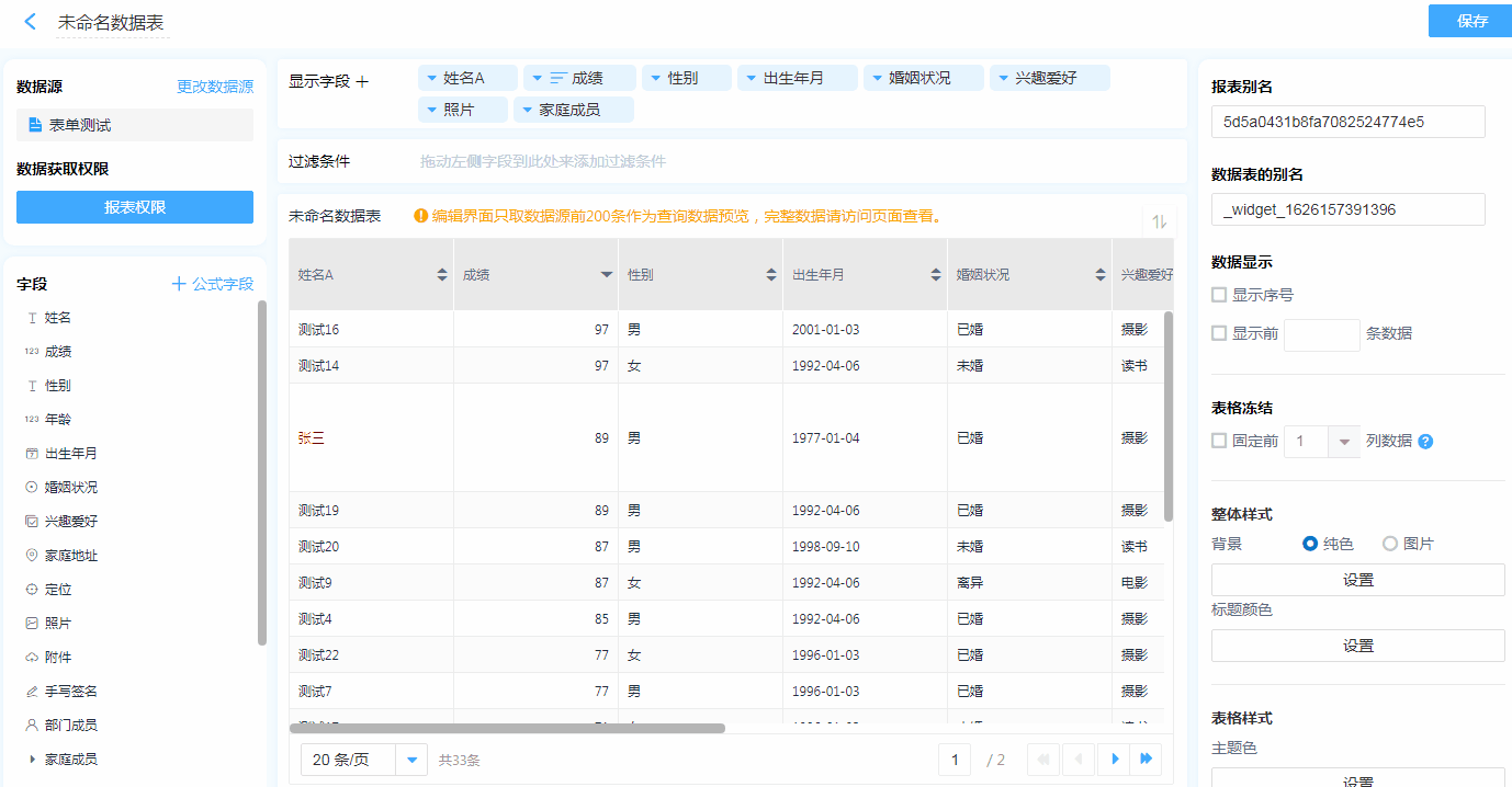
1、【拖动[性别]字段到过滤条件处】——【设置过滤条件】——【确定】

2、条件设置完成之后,数据表里就会加载满足过滤条件的数据,如下图:

过滤条件筛选模式

多个过滤条件时,支持设置过滤条件同时满足和过滤条件任一满足查询。

过滤条件支持的字段

过滤条件全数据支持,具体可参考下表:

类型 控件类型 操作类型 值类型
常规字段 单行文本 等于、不等于、等于任意一个、不等于任意一个、包含、不包含、为空、不为空 控件值
多行文本 包含、不包含、为空、不为空 控件值
数字 等于、不等于、大于、大于等于、小于、小于等于、选择范围(数字区间,自定义范围)、为空、不为空 控件值
日期时间 等于、不等于、大于、大于等于、小于、小于等于、选择范围(自定义起始结束时间)、为空、不为空 固定值、今天、昨天、本周、上周、本月、上月、今年、过去七天
单选按钮组 等于、不等于、等于任意一个、不等于任意一个、包含、不包含、为空、不为空 控件值
复选框组 包含任意一个、同时包含、等于、为空、不为空 控件值
下拉框 等于、不等于、等于任意一个、不等于任意一个、包含、不包含、为空、不为空 控件值
下拉复选框 包含任意一个、同时包含、等于、为空、不为空 控件值
地址 属于、不属于、为空、不为空 控件值
定位 属于、不属于、为空、不为空 控件值
图片 为空、不为空 控件值
附件 为空、不为空 控件值
手写签名 为空、不为空 控件值
成员单选 等于、不等于、等于任意一个、不等于任意一个、为空、不为空 控件值
成员多选 包含任意一个、同时包含、等于、为空、不为空 控件值
部门单选 等于、不等于、等于任意一个、不等于任意一个、为空、不为空 控件值
部门多选 包含任意一个、同时包含、等于、为空、不为空 控件值
常规系统字段 提交人 等于、不等于、等于任意一个、不等于任意一个、为空、不为空 控件值
提交时间 等于、不等于、大于、大于等于、小于、小于等于、选择范围(自定义起始结束时间)、为空、不为空 固定值、今天、昨天、本周、上周、本月、上月、今年、过去七天
更新时间 等于、不等于、大于、大于等于、小于、小于等于、选择范围(自定义起始结束时间)、为空、不为空 固定值、今天、昨天、本周、上周、本月、上月、今年、过去七天

注意:

  • 1.【未填写】表示查询空值。
  • 2.【全选】表示选择全部选项和空值。
  • 3.【请选择】表示去掉当前查询条件,查询所有数据。

日期 动态筛选 自定义时间设置中,日期是按自然日/周/月计算。

当前说明:

类别 说明 示例(今天是2022年11月4号)
当前1日 今天 2022年11月4号
当前1周 当前这一自然周,从星期一至星期日 2022年10月31号~2022年11月6号
当前1月 这一自然月,从当月1号至当月最后一天 2022年11月1日至2022年11月30日

过去说明:

类别 说明 示例(今天是2022年11月4号)
过去1日 昨天 2022年11月3号
过去1周 上个星期,从星期一至星期日 2022年10月24号~2022年10月30号
过去1月 上个月,从该月1号至该月最后一天 2022年10月1号~2022年10月31号

未来说明:

类别 说明 示例(今天是2022年11月4号)
未来1日 明天 2022年11月5号
未来1周 下个星期 2022年11月7号~2022年11月13号
未来1月 下个月 2022年12月1号~2022年12月31号

系统内其他场景的日期动态筛选,均适用此规则

最新修改于:2022-11-04